1993 Acura Legend Fuse Box Diagram / 1990 Acura Fuse Box Wiring Diagram Solve Compact Solve Compact Pennyapp It / Even with the service manual, its not always easy to find exact part numbers.. Videon ovan visar hur du kontrollerar om det finns blåsta säkringar i motorfacket i din acura legend från 1993 och var säkringsrutans diagram finns. Terminal and harness assignments for individual connectors will vary depending on vehicle equipment level, model, and market. The main relay is located behind left side of the dash and above and behind the fusebox and above the hood release. The acura tsx is equipped with two fuse boxes, and each has a series of fuses. 1996 acura legend fuse box wiring diagram cigarette lighter not working where is the fuse box1996 acura legend fuse box.

98 integra interior fuse box diagram schematics online. Fuse panel layout diagram parts: Car fuse box diagram, fuse panel map and layout. Turn signal hazzard relay, power window lock control unit, trunk releasesolenoid,ignition switch, power window, blower motor, abs control unit, horn relay, horns, main battery fuse, abs motor, rear window. Enter your vehicle info to find more parts and verify fitment.

Acura Legend Fuse Box Diagram Wiring Diagram Stem Colab Stem Colab Pennyapp It
Acura Legend Fuse Box Diagram Wiring Diagram Stem Colab Stem Colab Pennyapp It from www.autogenius.info
98 integra interior fuse box diagram schematics online. Everything about cars skip to content. Pdf electrical wiring diagram 1993 acura legend wiring diagram. Fuse box diagram (location and assignment of electrical fuses) for acura mdx (yd1; Turn signal hazzard relay, power window lock control unit, trunk releasesolenoid,ignition switch, power window, blower motor, abs control unit, horn relay, horns, main battery fuse, abs motor, rear window. Remove the 3 15 amp fuses located in this box. Most fuse panels have a legend or diagram of what is plugged into it. Rated 4.9 out of 5 stars.

Engine bay part identification acurazine acura enthusiast.

Fuse panel layout diagram parts: Remove the 3 15 amp fuses located in this box. Key code 7290 was a key reproduced for my acura titled as, cynthia leah whitle most likely athens ga dealership.2000acura 3.5 rl blue. Its as a result unquestionably easy and thus fats, isnt it? Diagram 1994 acura legend wiring diagram full version hd quality. Honda civic 1993 fuse box diagram thanks for visiting my website this post will certainly go over regarding honda civic 1993 fuse box diagram. 1996 acura legend fuse box wiring diagram cigarette lighter not working where is the fuse box1996 acura legend fuse box. Most fuse panels have a legend or diagram of what is plugged into it. So, bearing in mind you require the ebook swiftly, you can straight acquire it. Videon ovan visar hur du kontrollerar om det finns blåsta säkringar i motorfacket i din acura legend från 1993 och var säkringsrutans diagram finns. 2004 acura mdx general starter cut off relay location. Ford ranger edge fuse diagram wiring diagram general helper. Acura rl 2005 2006 fuse box diagram auto genius.

Rated 4.9 out of 5 stars. Its as a result unquestionably easy and thus fats, isnt it? Acura rl 2005 2006 fuse box diagram auto genius. So, bearing in mind you require the ebook swiftly, you can straight acquire it. Motogurumag.com is an online resource with guides & diagrams for all kinds of vehicles.

Acura Legend 1993 Wiring Diagram Starting Carknowledge Info
Acura Legend 1993 Wiring Diagram Starting Carknowledge Info from www.carknowledge.info
You could quickly download this 91 acura legend fuse box diagram after getting deal. So, bearing in mind you require the ebook swiftly, you can straight acquire it. 1997 cadillac deville fuse box diagram. Remove the 3 15 amp fuses located in this box. Srs main wire harness, engine compartment, power window relay, wire harness, starter cut relay, main wire harness. 98 integra interior fuse box diagram schematics online. Fuse panel layout diagram parts: Enter your vehicle info to find more parts and verify fitment.

Engine bay part identification acurazine acura enthusiast.

Acura tsx fuse box diagram fuse box diagram don't let a faulty fuse ruin your day. Rated 4.9 out of 5 stars. Car fusebox and electrical wiring diagram. The fuse box diagram is on the inside lid of the fuse box cover. Its as a result unquestionably easy and thus fats, isnt it? Most fuse panels have a legend or diagram of what is plugged into it. Fuse box diagram (location and assignment of electrical fuses) for acura cl (2000, 2001, 2002, 2003). Acura integra 2001 fuse box diagram. 2004 acura mdx general starter cut off relay location. Honda civic 1993 fuse box diagram thanks for visiting my website this post will certainly go over regarding honda civic 1993 fuse box diagram. So, bearing in mind you require the ebook swiftly, you can straight acquire it. Engine bay part identification acurazine acura enthusiast. 1994 acura legend fuse box wiring diagram.

Acura tsx fuse box diagram fuse box diagram don't let a faulty fuse ruin your day. Genuine acura fuse box for 1993 acura legend. 98 integra interior fuse box diagram schematics online. Engine bay part identification acurazine acura enthusiast. See 9 user reviews, 105 photos and great deals for 1992 acura legend.

2001 Kenworth Fuse Box Diagram Wiring Diagram Number Poised Cord Poised Cord Fattipiuinla It
2001 Kenworth Fuse Box Diagram Wiring Diagram Number Poised Cord Poised Cord Fattipiuinla It from i1.wp.com
Enter your vehicle info to find more parts and verify fitment. Useful info for acura legend 1993. 98 integra interior fuse box diagram schematics online. Get immediate support for your 1993 acura legend questions from helpowl.com. Even with the service manual, its not always easy to find exact part numbers. 1994 acura fuse diagram wiring diagram. A wiring diagram is a type of schematic which makes use of abstract pictorial symbols to show all the affiliations of elements in a system. Location of fuse boxes, fuse diagrams, assignment of the electrical fuses and relays in acura vehicles.

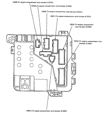
Terminal and harness assignments for individual connectors will vary depending on vehicle equipment level, model, and market.

Location of fuse boxes fuse diagrams assignment of the electrical fuses and relays in acura vehicles. So, bearing in mind you require the ebook swiftly, you can straight acquire it. 1996 acura legend fuse box wiring diagram cigarette lighter not working where is the fuse box1996 acura legend fuse box. 1997 cadillac deville fuse box diagram. Acura rl 2005 2006 fuse box diagram auto genius. Diagram 1994 acura legend wiring diagram full version hd quality. 2004 acura mdx general starter cut off relay location. Find 3 used acura legend listings at cargurus. The parts fuse panel consist of: In drivers kick panel or @ fuse box. Location of fuse boxes, fuse diagrams, assignment of the electrical fuses and relays in acura vehicles. The website i use is sort of dependent on the manufacturer, apparently acura did not feel like sharing that. Terminal and harness assignments for individual connectors will vary depending on vehicle equipment level, model, and market.

By